خودروهای مرسدس بنز بهزودی با اسکن کف دست باز میشوند
مرسدس بنز با ثبت اختراع جدید خود، قصد دارد فناوری اسکن کف دست را جایگزین کلیدهای سنتی کند. این سیستم با شناسایی رگهای دست، امنیت خودرو را تضمین میکند.
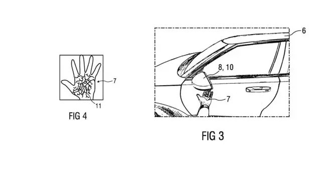
گجت نیوز: مرسدس بنز بار دیگر مرزهای تکنولوژی را جابجا کرد و با ثبت یک اختراع جنجالی، نشان داد که آینده امنیت خودرو در دستان راننده است؛ البته به معنای واقعی کلمه! طبق اسناد منتشر شده، این خودروساز آلمانی در حال توسعه سیستمی است که به رانندگان اجازه میدهد تنها با نشان دادن کف دست خود، قفل خودرو را باز کرده و موتور را روشن کنند.

جادوی مادون قرمز و پایان دردسرهای حسگر اثر انگشت
این فناوری نوین از دوربینهای مادون قرمز برای شناسایی الگوی منحصربهفرد رگهای خونی در اسکن کف دست استفاده میکند. برخلاف حسگرهای اثر انگشت که ممکن است با کثیفی یا رطوبت دچار خطا شوند، این سیستم با تابش نور مادون قرمز به زیر پوست، نقشهای دقیق و غیرقابل جعل از دست راننده تهیه میکند. سنسورهای این سیستم احتمالاً در ستون B خودرو یا زیر آینههای جانبی تعبیه خواهند شد تا راننده با یک حرکت ساده دست، مجوز ورود را دریافت کند.

تفاوت بین مرسدس بنز و مرسدس AMG چیست؟
یکی از ویژگیهای برجسته این اختراع، قابلیت تشخیص بافت زنده است. مهندسان مرسدس سیستمی را طراحی کردهاند که با اندازهگیری الکتریسیته ساکن بدن، مطمئن میشود که دست مقابل سنسور متعلق به یک انسان زنده است. این یعنی سارقان نمیتوانند با استفاده از ماکت یا تصاویر باکیفیت، سیستم فناوری بیومتریک خودرو را فریب دهند. علاوه بر امنیت بالا، این سیستم مصرف انرژی بسیار پایینی دارد و تنها زمانی که حضور راننده را حس کند، فعال میشود. با این نوآوری، شاید بهزودی کلیدهای فیزیکی و حتی دیجیتالی به تاریخ بپیوندند.
تبلیغات متنی
-
لاریجانی به آمریکا در عمان پیغام فرستاد
-
استقلال هر چه گل زد آفساید شد
-
اولین آمار از میزان خسارت بازار رشت
-
پرویز پرستویی: پیکر برادرم را تکه تکه تحویل گرفتم
-
تعطیلات، جادههای شمالی را قفل کرد
-
اوسمار به دنبال یاغی جنجالی پرسپولیس!
-
استقرار سامانههای تاد در مناطق اطراف ایران
-
تصاویری از دیدار لاریجانی و یک مقام یمنی در عمان
-
پیشنهاد جنجالی برای تغییر ملیت مهدی قایدی!
-
آمریکا با همسایه ایران توافق هستهای کرد
-
با این ۳ وام پرطرفدار بانک پارسیان، از تورم جلو بزنید!
-
نهنگ عظیمالجثه در ساحل کامچاتکا به گل نشست
-
تست پرواز مدلهای جدید سوخو-۵۷
-
صاحب این هتل به خون نقی و ارسطو تشنه است
-
درآمد خانوار ایرانی صرف چه میشود؟
-
لاریجانی به آمریکا در عمان پیغام فرستاد
-
اولین آمار از میزان خسارت بازار رشت
-
استقرار سامانههای تاد در مناطق اطراف ایران
-
تصاویری از دیدار لاریجانی و یک مقام یمنی در عمان
-
پیشنهاد جنجالی برای تغییر ملیت مهدی قایدی!
-
نامزد جایزه پوشکاش از ایران در حوادث دیماه جان باخت
-
پفک ایرانی؛ خوراکی معمولی که آنسوی مرزها لاکچری شد
-
روایت نگرانکننده از بازداشت پرستاران در حوادث اخیر
-
ادعای یک شرکت اروپایی برای رفع فیلترینگ در ایران
-
دلار در کانال قیمتی جدید قرار گرفت
-
آتشسوزی در نیروگاه برق آلستوم ستارخان
-
ماجرای عکس خبرساز از دیدار لاریجانی و مقام عمانی
-
سقف قیمتی طلا و سکه باز هم شکسته شد
-
نتانیاهو: مهمترین بحث من در آمریکا درباره ایران است
-
هشدار هواشناسی درباره وزش باد شدید در تهران
-
رضا عطاران و مریلا زارعی در جشنواره فجر غیب شدند
-
نفس بازغی: برای خوب شدن حالم، هیچ تلاشی نمیکنم
-
صابرین نیوز: سورپرایز جدید نظامی در راه است
-
مقدمات مهاجرت دائمی کامران نجفزاده را فراهم کنید
-
امیرحسین فتحی: قسمتی از من برای همیشه مُرد
-
استوری طارمی و جهانبخش در ساعات اخیر توجهبرانگیز شد
-
گلزار، سینا مهراد و هادی حجازیفر ماموران صداوسیما شدند
-
اهدای ماکت جنگنده J-۲۰ به فرمانده ارشد ایرانی
-
گزارش شبکه الجزیرة از موشک خرمشهر-۴
-
دیوارنگاره میدان فلسطین اهداف ایران در تلآویو را لو داد
-
خبر فوری معاون ترامپ درباره مذاکره با ایران
-
ادعای شبکه ۱۵ اسرائیل درباره پیام آمریکا به ایران
-
خانم بازیگر سریال گاندو در جشنواره فجر رخنمایی کرد
-
نفیسه روشن: روزی ۲۳ ساعت گریه میکنم
-
سپاه از پیغام ترامپ درباره جنگ خبر داد
بانک اطلاعات مشاغل تهران و کرج
-
سالن های آرایش و زیبایی
-
پزشکان پوست و مو
-
آموزشگاه آشپزی در تهران
-
گالری پوشاک
-
اخذ ویزا
-
کاشت ناخن
-
محصولات پزشکی
-
تدریس خصوصی
-
مزون و شوی لباس
-
اعزام دانشجو
-
خدمات آرایشی و زیبایی
-
خدمات درمانی
-
مدارس
-
طلا و جواهر و زیورآلات
-
صرافی
-
محصولات آرایش و زیبایی
-
خدمات حیوانات خانگی
-
مهد کودک
-
مبلمان
-
سیسمونی و نوزاد
-
مراکز درمانی
-
پت شاپ
-
رستوران و تهیه غذا
-
تعمیرات مبل در تهران
-
خدمات تفریح و سرگرمی
-
پزشکان متخصص
-
باشگاه های ورزشی
-
فست فودهای تهران
-
سرویس خواب
-
موبایل
-
دکتر زنان در تهران
-
فروشگاه ها و لوازم ورزشی
-
کافی شاپ و سفره خانه
-
دکوراسیون داخلی
-
لوازم خانگی
-
دندانپزشکان
-
آموزشگاه ها
-
صنایع غذایی
-
تزیینات داخلی
-
خدمات منزل
-
دندانپزشکی کودک
-
آموزشگاه زبان در تهران
-
تشریفات و موسسه پذیرایی
-
خدمات ساختمان
-
فروش و خدمات خودرو
-
پزشکان زیبایی و لاغری
-
آموزشگاه موسیقی
-
خدمات مجالس
-
قالیشویی در تهران
-
سایر خدمات
-
جراحی بینی و زیبایی
-
آموزشگاه هنری
-
آتلیه عکاسی
-
آژانس مسافرتی و هتل
ارسال نظر